黄瓜视频下载污,黄瓜视频官网,91黄瓜视频APP下载,黄瓜视频色版下载

      歡迎訪問上海黄瓜视频下载污91黄瓜视频APP下载有限公司黄瓜视频官网官方網站,

      上海黄瓜视频下载污91黄瓜视频APP下载有限公司

      黄瓜视频下载污91黄瓜视频APP下载,安全又耐用

      實體工廠,歡迎參觀考察

      JS型組合式彈簧91黄瓜视频APP下载

      文章出處:上海黄瓜视频下载污91黄瓜视频APP下载有限公司 添加時間:2019-07-03 11:18

      JS型組合式彈簧91黄瓜视频APP下载


      產品名稱:JS型組合式彈簧91黄瓜视频APP下载

      產品型號:JS係列

      所屬類別:彈簧減振器

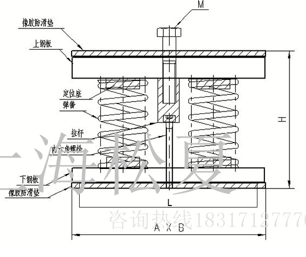
      黄瓜视频下载污JS型組合式彈簧91黄瓜视频APP下载產品簡介: JS型組合式彈簧減振器是采用多重組合彈簧為主體,上下配置鋼板及防滑橡膠墊組成。 該產品充分利用綜合鋼彈簧的低頻和橡膠減振的阻尼特性,可消除高頻傳遞,達到明顯的減震降噪效果,又能解決機械設備重心不均的減震難點。 本產品為敞開式結構,安裝時可直接放在設備下,調節好重心,然後通過固定孔連接上下端麵,也可直接的安置在減振基座分支承結構之間。適用於壓縮機組,冷水機組,空調機組等機械設備的減振。

      -2為2組彈簧組合 -4為4組彈簧組合 -6為6組彈簧組合

      消防泵浦、排送風機

      發電機、空氣壓縮機

      JS型組合式彈簧91黄瓜视频APP下载結構圖

      型號 荷載(kg) 豎向剛度 外形尺寸(mm)
      預壓P1 額定P2 最大P3 kg/mm H A B M
      JS-2-20 16 20 24 0.8 75 100 40 10
      JS-2-30 24 30 36 1.2 75 100 40 10
      JS-2-50 40 50 60 2 95 120 50 12
      JS-2-60 48 60 72 2.4 95 120 50 12
      JS-2-80 64 80 96 3.2 95 120 50 12
      JS-2-100 80 100 120 4 95 120 50 12
      JS-2-120 96 120 144 4.8 110 150 60 12
      JS-2-160 128 160 192 6.4 110 150 60 12
      JS-2-200 160 200 240 8 110 150 60 12
      JS-2-300 240 300 360 12 110 150 60 12
      JS-2-400 320 400 480 16 110 150 60 12
      JS-2-500 400 500 600 20 110 150 60 12
      JS-2-600 480 600 720 24 145 190 80 16
      JS-2-800 640 800 960 32 145 190 80 16
      JS-2-1000 800 1000 1200 40 145 190 80 16
      JS-2-1200 960 1200 1440 48 145 190 80 16
      JS-2-1400 1120 1400 1680 56 145 190 80 16
      JS-2-1600 1280 1600 1920 64 145 190 80 16
      JS-2-1800 1440 1800 2160 72 145 190 80 16
      JS-2-2000 1600 2000 2400 80 145 190 80 16
      JS-2-2400 1920 2400 2880 96 145 190 80 16
      JS型組合式彈簧91黄瓜视频APP下载結構圖

      型號 荷載(kg) 豎向剛度kg/mm 外形尺寸(mm)
      預壓P1 額定P2 最大P3 H A X B L1 M
      JS-4-240 192 240 288 9.6 110 140X140 110 12
      JS-4-320 256 320 384 12.8 110 140X140 110 12
      JS-4-400 320 400 480 16 110 140X140 110 12
      JS-4-600 480 600 720 24 110 140X140 110 12
      JS-4-800 640 800 960 32 110 140X140 110 12
      JS-4-1000 800 1000 1200 40 110 140X140 110 12
      JS-4-1200 960 1200 1440 48 145 170X170 140 16
      JS-4-1600 1280 1600 1920 64 145 170X170 140 16
      JS-4-2000 1600 2000 2400 80 145 170X170 140 16
      JS-4-2400 1920 2400 2800 96 145 170X170 140 16
      JS-4-2800 2240 2800 3600 112 145 170X170 140 16
      JS-4-3200 2560 3200 3840 128 145 170X170 140 18
      JS-4-4000 3200 4000 4800 160 145 170X170 140 18
      JS-4-4800 3840 4800 5760 192 145 170X170 140 18
      JS-6-360 288 360 432 14.4 110 210X140 180 12*2
      JS-6-480 384 480 576 19.2 110 210X140 180 12*2
      JS-6-600 480 600 720 24 110 210X140 180 12*2
      JS-6-900 720 900 1080 36 110 210X140 180 12*2
      JS-6-1200 960 1200 1440 48 110 210X140 180 12*2
      JS-6-1500 1200 1500 1800 60 110 210X140 180 12*2
      JS-6-1800 1440 1800 2160 72 145 255X170 225 16*2
      JS-6-2400 1920 2400 2880 96 145 255X170 225 16*2
      JS-6-3000 2400 3000 3600 120 145 255X170 225 16*2
      JS-6-3600 2880 3600 4320 144 145 255X170 225 16*2
      JS-6-4200 3360 4200 5040 168 145 255X170 225 16*2
      JS-6-4800 3840 4800 5760 192 145 255X170 225 16*2
      JS-6-6000 4800 6000 7200 240 145 255X170 225 16*2
      JS-6-7200 5760 7200 8640 288 145 255X170 225 16*2
      JS-9-2700 2160 2700 3240 108 145 255X255 225 20
      JS-9-3600 2880 3600 4320 144 145 255X255 225 20
      JS-9-4500 3600 4500 5400 180 145 255X255 225 20
      JS-9-5400 4320 5400 6480 216 145 255X255 225 20
      JS-9-6300 5040 6300 7560 252 145 255X255 225 20
      JS-9-7200 5760 7200 8640 288 145 255X255 225 20
      JS-9-9000 7200 9000 10800 360 145 255X255 225 20
      JS-9-10800 8640 10800 12960 432 145 255X255 225 20

      黄瓜视频下载污實力躋身全國前三,是91黄瓜视频APP下载行業的翹楚,歡迎廣大新老客戶朋友來廠參觀考察,熱線電話:18317127770.


      

      返回頂部

      網站地圖